近期,新疆自治区公布了新疆选调生&公务员遴选考试报名公告,下面就为大家详细介绍本次考试报名流程,以及报名中最重要的免冠电子版证件照如何在线处理,节约大家报名时间。

新疆选调生&公务员遴选统一采用网上报名方式,报名入口为新疆人事考试网-公务员遴选及选调生考试报名入口

注册账号并登录《新疆考生网上报名系统》

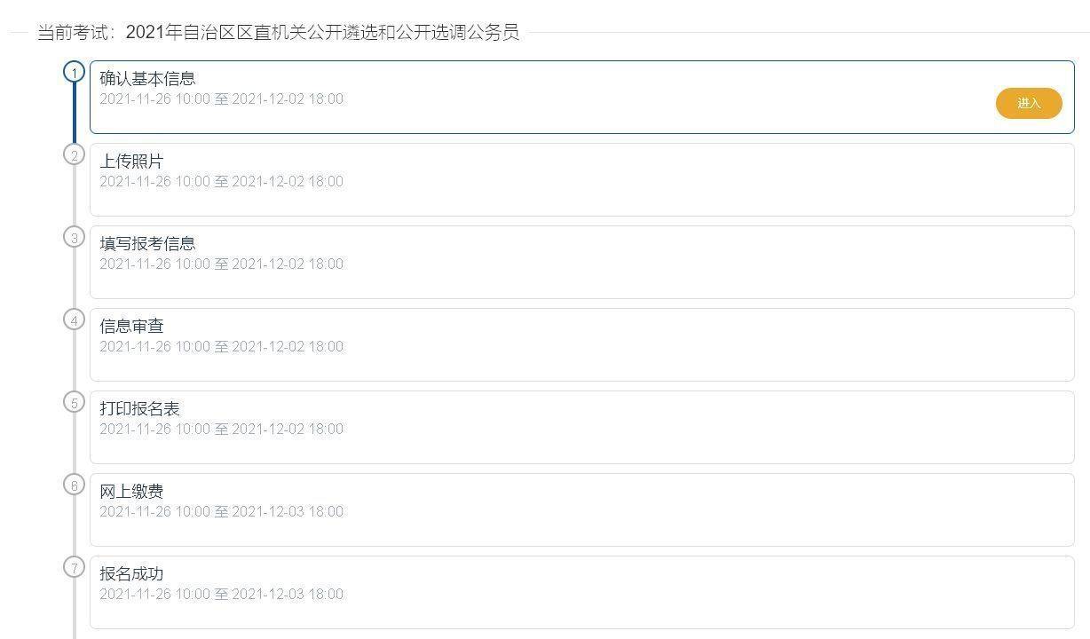
新疆选调生和公务员遴选报名流程如下图所示:

上传照片后,完成报考信息填写即可


报名照片上传要求:
考生应上传本人近期免冠彩色证件照。
1、近期免冠证件照的规格及要求是本人3个月以内正面、免冠、背景为白底证件照;
2、照片规格为宽295像素*高413像素,照片必须清晰完整,格式应为JPG,大小在30KB至50KB。
3、照片需要使用照片审核处理工具审核后上传。
手机端找到【报名电子照助手】小程序

选择菜单栏中的【自助服务】一项,搜索新疆选调生&公务员遴选。

请他人协助拍摄一张正面半身照片完成上传,可参考下图。有证件照当然更好,但不允许翻拍旧的纸质证件照,或清晰度不佳的电子照片。

上传照片,使用裁剪工具选取人物头肩位置,调整照片比例。

一键生成证件照电子版,保存照片并发送到电脑端或手机相册。

在电脑端提取照片,因为照片审核需要在电脑端进行哦

使用订单号后6位作为提取码,在电脑端提取处理后的照片

然后上传照片就可以了


责任编辑:报名电子照助手
以上内容为报名电子照助手原创发布,转载请注明出处,侵权必究